This page needs JavaScript activated to work. Broyeur d'accotement avec boitier intérieur pour tracteur fruitier
LIVRAISON GRATUITE SUR TOUTE LA SUISSE

Livraison estimée : 15-20 jours à partir de la confirmation de la commande. Vous recevrez un avis par téléphone !

Chuck Norris t'offre 5%de PROMOsur le deuxième produit REGARDER LES DETAILS

Loading...

Broyeur d'accotement avec boitier intérieur pour tracteur fruitier

4.6

1357 avis

Disponible
COD. LEO140PTO
EAN 8053470231032
Regarder les détails.
TOTAL 2.787,00(2.556,52 CHF)HT
Livraison gratuite!
DEMANDER PLUS D'INFORMATION

VIDEO
Test sur le terrain
Test sur le terrain

DETAILS

Broyeur d´accotement polyvalent 452kg / 140cm pour tracteur fruitiers - DELEKS® LEO-140 - boitier de transmission interne. Cardan CE et livraison inclus.



UTILISATION

Le broyeur d´accotement LEO-140 convient pour les tracteurs de 40 à 70cv, comme par exemple New Holland TK4000, T3030, T4F, John Deere Serie 2-3, Landini Mistral, Deutz-Fahr, Lamborghini Ego, McCormick, Same Solaris.

Ce broyeur d´accotement à marteaux est équipé de série d'un boitier de transmission GB BOLOGNA à roue libre intégrée (extérieur châssis), de courroies haute résistance de type industriel, attache double, rouleau arrière réglable, protections avant, tendeurs réglables, glissières latérales, rotor à équilibrage électronique. Cardan de 180cm CE.

  

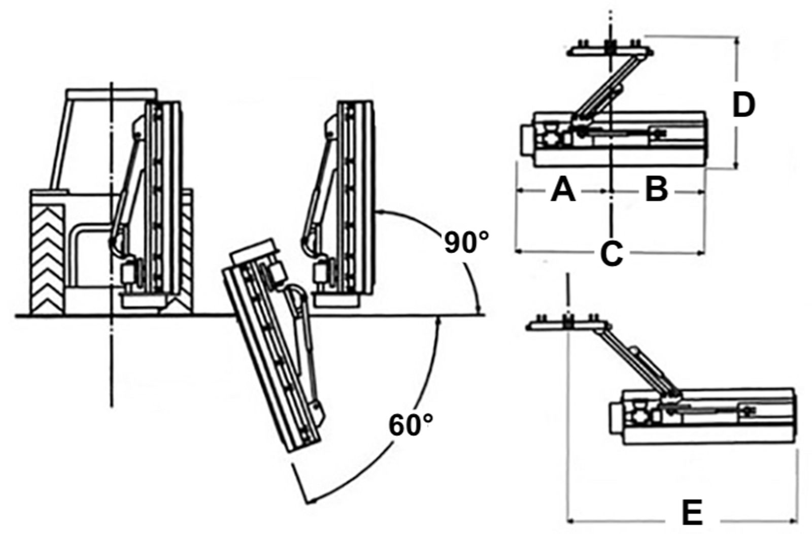
DIMENSIONS

a: 750 mm

b: 770 mm

c: 1520 mm

d: 1550 mm

e: 2000 mm


CARACTÉRISTIQUES ET AVANTAGES

Inclinaison hydraulique vers le haut (90º) et vers le bas (60º).

Peut être utilisé à l´horizontal dans l´axe du tracteur ou déporté pour les vergers.

Pratique pour tondre entre les arbres.

Boitier GB Bologne à roue libre (Fabriqué en Italie) garantie 3 ans.

Boitier placé sur le cadre (intérieur) afin de travailler dans l´axe du tracteur ou coté droit.

Son poids relativement léger permet une utilisation dans les vergers.

Marteaux forgés à chaud de 820g pour broyer la végétation de 4-5 cm d´épaisseur.

4 courroies dentées de haute résistance, réglage de la tension externe.

Rotor équilibré électroniquement.

Rouleau arrière et patins réglables en hauteur.

Cardan CE inclus. 

 




CARACTERISTIQUES

Caractéristiques Unité métrique
Largeur de travail 1392.0 mm
Largeur total 1520.0 mm
Hauteur de coupe min/max 10.0 - 45.0 mm
Poid 452.0 kg
Hauteur totale 850.0 mm
Puissance du tracteur 40 - 70 cv
Attelage 3 points Cat. 1-2 (ø 19.0-22.0mm / 25.0-28.0mm)
Position du boitier de transmission Interne
Hauteur du capot 390.00 mm
Distance des 2 points inférieurs 730.0 - 960.0 mm
Nbre de marteaux 20
Diamètre maximum de coupe 40.0 - 50.0 mm
Longueur totale 1550.0 mm (fermé)
Distance entre le boitier de transmission et la terre 490.0 mm
Epaisseur de la tôle 4.0 mm
Epaisseur des cotés 6.0 mm
Epaisseur des patins latéraux 6.0 mm
Transmission: type Courroies V
Transmission : boitier de transmission GB Bologna (Italy) (Garantie 3 ans)
Transmission : prise de force 540 r/min
Transmission : sens de rotation Horaire
Transmission : roue libre
Transmission : vitesse du rotor 2300 rpm
Transmission : huile du boitier Oui / SAE 120 - ISO 72925
Transmission : ø poulie supérieure 170.0 mm
Transmission : ø poulie inférieure 120.0 mm
Transmission : Nombre de courroie 4
Transmission : dimensions des courroies 17x1026
Rotor : diamètre 108.0 mm
Rotor : roulement et dimensions SKF 6207
Rotor : équilibrage Électronique
Rotor : épaisseur 8.0 mm
Marteau : poid 820.0 g
Marteau : ø du trou 15.0 mm
Marteau : largeur de base 82.0 mm
Marteau : largeur de la tête 45.0 mm
Marteau : extension diagonale 95.0 mm
Rouleau : diamètre 140.0 mm
Rouleau: épaiseur 5.0 mm
Rouleau: roulements et dimensions UC205
Déport et dimensions Voir photos
ø vérin hydraulique A 70.0 - 30.0 mm
ø vérin hydraulique B 65.0 - 25.0 mm
Pression optimale min/max d'huile 120 - 150 bar
Flux optimale d'huile 18 - 22 l/min
Flexibles hydrauliques WP 400 Bar, 1/2" Agri Standard
Cardan CE 5x1800 mm
Longueur du capot 630.0 mm
Dimensions de la marchandise pour envoi 1580.0*800.0*760.0 mm

Certifications

SSAB Laser 355MC   Télécharger PDF
ARVEDI / TUBINDUSTRIA: Certification   Télécharger PDF

Données techniques

Shell Spirax S2 A 80W-90: Specifications   Télécharger PDF
DETAILS
CARACTERISTIQUES
Certifications
Données techniques

DETAILS

FERMER

Broyeur d´accotement polyvalent 452kg / 140cm pour tracteur fruitiers - DELEKS® LEO-140 - boitier de transmission interne. Cardan CE et livraison inclus.



UTILISATION

Le broyeur d´accotement LEO-140 convient pour les tracteurs de 40 à 70cv, comme par exemple New Holland TK4000, T3030, T4F, John Deere Serie 2-3, Landini Mistral, Deutz-Fahr, Lamborghini Ego, McCormick, Same Solaris.

Ce broyeur d´accotement à marteaux est équipé de série d'un boitier de transmission GB BOLOGNA à roue libre intégrée (extérieur châssis), de courroies haute résistance de type industriel, attache double, rouleau arrière réglable, protections avant, tendeurs réglables, glissières latérales, rotor à équilibrage électronique. Cardan de 180cm CE.

  

DIMENSIONS

a: 750 mm

b: 770 mm

c: 1520 mm

d: 1550 mm

e: 2000 mm


CARACTÉRISTIQUES ET AVANTAGES

Inclinaison hydraulique vers le haut (90º) et vers le bas (60º).

Peut être utilisé à l´horizontal dans l´axe du tracteur ou déporté pour les vergers.

Pratique pour tondre entre les arbres.

Boitier GB Bologne à roue libre (Fabriqué en Italie) garantie 3 ans.

Boitier placé sur le cadre (intérieur) afin de travailler dans l´axe du tracteur ou coté droit.

Son poids relativement léger permet une utilisation dans les vergers.

Marteaux forgés à chaud de 820g pour broyer la végétation de 4-5 cm d´épaisseur.

4 courroies dentées de haute résistance, réglage de la tension externe.

Rotor équilibré électroniquement.

Rouleau arrière et patins réglables en hauteur.

Cardan CE inclus. 

 




CARACTERISTIQUES

FERMER
Caractéristiques Unité métrique
Largeur de travail 1392.0 mm
Largeur total 1520.0 mm
Hauteur de coupe min/max 10.0 - 45.0 mm
Poid 452.0 kg
Hauteur totale 850.0 mm
Puissance du tracteur 40 - 70 cv
Attelage 3 points Cat. 1-2 (ø 19.0-22.0mm / 25.0-28.0mm)
Position du boitier de transmission Interne
Hauteur du capot 390.00 mm
Distance des 2 points inférieurs 730.0 - 960.0 mm
Nbre de marteaux 20
Diamètre maximum de coupe 40.0 - 50.0 mm
Longueur totale 1550.0 mm (fermé)
Distance entre le boitier de transmission et la terre 490.0 mm
Epaisseur de la tôle 4.0 mm
Epaisseur des cotés 6.0 mm
Epaisseur des patins latéraux 6.0 mm
Transmission: type Courroies V
Transmission : boitier de transmission GB Bologna (Italy) (Garantie 3 ans)
Transmission : prise de force 540 r/min
Transmission : sens de rotation Horaire
Transmission : roue libre
Transmission : vitesse du rotor 2300 rpm
Transmission : huile du boitier Oui / SAE 120 - ISO 72925
Transmission : ø poulie supérieure 170.0 mm
Transmission : ø poulie inférieure 120.0 mm
Transmission : Nombre de courroie 4
Transmission : dimensions des courroies 17x1026
Rotor : diamètre 108.0 mm
Rotor : roulement et dimensions SKF 6207
Rotor : équilibrage Électronique
Rotor : épaisseur 8.0 mm
Marteau : poid 820.0 g
Marteau : ø du trou 15.0 mm
Marteau : largeur de base 82.0 mm
Marteau : largeur de la tête 45.0 mm
Marteau : extension diagonale 95.0 mm
Rouleau : diamètre 140.0 mm
Rouleau: épaiseur 5.0 mm
Rouleau: roulements et dimensions UC205
Déport et dimensions Voir photos
ø vérin hydraulique A 70.0 - 30.0 mm
ø vérin hydraulique B 65.0 - 25.0 mm
Pression optimale min/max d'huile 120 - 150 bar
Flux optimale d'huile 18 - 22 l/min
Flexibles hydrauliques WP 400 Bar, 1/2" Agri Standard
Cardan CE 5x1800 mm
Longueur du capot 630.0 mm
Dimensions de la marchandise pour envoi 1580.0*800.0*760.0 mm

Certifications

FERMER
SSAB Laser 355MC   Télécharger PDF
ARVEDI / TUBINDUSTRIA: Certification   Télécharger PDF

Données techniques

FERMER
Shell Spirax S2 A 80W-90: Specifications   Télécharger PDF

Option

4 courroies LEO
Prix spécial en option. -10,40(9,17 CHF) 104,00(95,40 CHF)HT 93,60(85,31 CHF)HT
Non disponible Me prévenir


10 Marteaux T
Prix spécial en option. -13,90(11,92 CHF) 139,00(127,50 CHF)HT 125,10(114,66 CHF)HT
Disponible

TIGRE/PUMA/RINO/LEO/INTERFILA (2021>)

10 boulons + écrous T
Prix spécial en option. -8,00(7,34 CHF) 80,00(73,38 CHF)HT 72,00(66,05 CHF)HT
Disponible

PUMA/TIGRE/RINO/LEO

Goupilles de rechange Cat.1-2
Prix spécial en option. -6,80(5,50 CHF) 68,00(62,38 CHF)HT 61,20(55,96 CHF)HT
Disponible

ø 19.0/22.0 + 25.0/28.0 mm

10 x 3 Lames T
Prix spécial en option. -14,70(12,84 CHF) 147,00(134,84 CHF)HT 132,30(121,08 CHF)HT
Non disponible Me prévenir

PUMA/TIGRE/RINO/LEO

Réduction pour prise de force tracteur
Prix spécial en option. -11,30(10,09 CHF) 113,00(103,65 CHF)HT 101,70(92,65 CHF)HT
Disponible


Remplacement par cardan homocinétique 1800mm
Prix spécial en option. -30,90(27,52 CHF) 309,00(283,45 CHF)HT 278,10(255,01 CHF)HT
Non disponible Me prévenir

1800.0 -> 2500.0 mm

70.85 -> 98.45 in

Barre de poussée 680
Prix spécial en option. -10,20(9,17 CHF) 102,00(93,56 CHF)HT 91,80(83,47 CHF)HT
Disponible

Cat. 2-2

680.0-930.0 mm

Barre de poussée 730
Prix spécial en option. -11,30(10,09 CHF) 113,00(103,65 CHF)HT 101,70(92,65 CHF)HT
Disponible

Cat. 2-2

730.0-980.0 mm

4 courroies LEO
Prix spécial en option. -10,40(9,17 CHF) 104,00(95,40 CHF)HT 93,60(85,31 CHF)HT
Non disponible Me prévenir


10 Marteaux T
Prix spécial en option. -13,90(11,92 CHF) 139,00(127,50 CHF)HT 125,10(114,66 CHF)HT
Disponible

TIGRE/PUMA/RINO/LEO/INTERFILA (2021>)

10 boulons + écrous T
Prix spécial en option. -8,00(7,34 CHF) 80,00(73,38 CHF)HT 72,00(66,05 CHF)HT
Disponible

PUMA/TIGRE/RINO/LEO

Goupilles de rechange Cat.1-2
Prix spécial en option. -6,80(5,50 CHF) 68,00(62,38 CHF)HT 61,20(55,96 CHF)HT
Disponible

ø 19.0/22.0 + 25.0/28.0 mm

10 x 3 Lames T
Prix spécial en option. -14,70(12,84 CHF) 147,00(134,84 CHF)HT 132,30(121,08 CHF)HT
Non disponible Me prévenir

PUMA/TIGRE/RINO/LEO

Réduction pour prise de force tracteur
Prix spécial en option. -11,30(10,09 CHF) 113,00(103,65 CHF)HT 101,70(92,65 CHF)HT
Disponible


Remplacement par cardan homocinétique 1800mm
Prix spécial en option. -30,90(27,52 CHF) 309,00(283,45 CHF)HT 278,10(255,01 CHF)HT
Non disponible Me prévenir

1800.0 -> 2500.0 mm

70.85 -> 98.45 in

Barre de poussée 680
Prix spécial en option. -10,20(9,17 CHF) 102,00(93,56 CHF)HT 91,80(83,47 CHF)HT
Disponible

Cat. 2-2

680.0-930.0 mm

Barre de poussée 730
Prix spécial en option. -11,30(10,09 CHF) 113,00(103,65 CHF)HT 101,70(92,65 CHF)HT
Disponible

Cat. 2-2

730.0-980.0 mm

Avis

Ce que disent nos clients à notre sujet